單流束旋翼干式冷水表CD96TAR-(15~20)E/G
一、概述
此系列水表是單流旋翼式水表,超級干式,即干式表盤,磁力傳動,下磁鋼直接安裝與葉輪上,此葉輪為唯一浸沒在水中工作的可動部件,因此能可靠計量硬質,帶水垢和懸浮物的水質,而不至于產生一般結構水表齒輪浸在水中工作而出現加速磨損現象。
*水表的密封計數器處于真空中,而防止了霜氣冷凝現象。
*指示機構可旋轉360°,更方便讀數
*防磁結構,不受外來磁場干擾
*如果更換合適的材料,可以用于90℃以上的熱水中 *可根據客戶需求,在水表白附加遠傳輸出裝置,可根據客戶需要設計生產不同脈沖當量和發訊元件的遠傳水表。機電轉換信號當量可做每個脈沖信號:1升、10升、100升。
二、技術特性
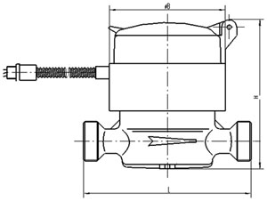
1、結構外形
普通表型號:CD96TAR-(15~20)E/G 遠傳表型號:CD96TAR/LD-(15~20)E/G
|
名稱
|
公稱口徑
|
過載流量
Q4
|
常用流量
Q3
|
分界流量
Q2
|
最小流量
Q1
|
最小讀數
Min
|
最大讀數
Max
|
L
|
I
|
H
|
B
|
|
單位
|
mm
|
Inch
|
m3/h
|
L/h
|
L
|
m3
|
mm
|
|
CD96
|
15
|
1/2
|
3.125
|
2.5
|
50
|
31.3
|
0.05
|
99999
|
110
|
204
|
99
|
74.2
|
|
20
|
3/4
|
5
|
4
|
80
|
50
|
130
|
234
|
2.流量測量誤差
a.從包括最小流量(Q1) 至不包括分界流量(Q2)的低區為±5%
b.從包括分界流量(Q2)至包括過載流量(Q4)的高區為±2%
3.工作壓力與溫度
P≤1.0Mpa T≤50℃
示值誤差限與流量曲線FLOW-ERROR CURVE 壓力損失曲線 Pressure loss curve

四 、安裝與使用
1、 流量計必須水平安裝,保持殼體上箭頭方向與水流方向相同;
2、 新裝管道務必將管道內的石子、泥沙、麻絲等雜物沖洗干凈再裝流量計,以免造成流量計故障;
3、 流量計不應直接與管道連接,流量計與管道之間應有管接頭、連接螺母、接管墊圈等附件。拆裝流量計時,切不可用力硬扳,以免損壞流量計;
4、 流量計長期使用,管道內的雜質、鐵銹等物會堵塞濾網或進入表內,造成誤差增加或影響正常運轉,因此每隔一段時間應由專業人員清洗一次。
五、附件
根據客戶需要,每只流量計可配套
提供管接頭、連接螺母、接管密封墊圈各兩只。